
1-206 ダンススタジオ付き中古住宅
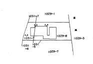
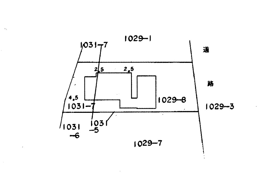
所在 栃木県宇都宮市川田町1029-8.1031-7
|
価格(万円) |
2900万円 |
土地権利 |
所有権 |
ガス |
プロパンガス |
|
土地面積(㎡)(公簿) |
332.77㎡(100.6坪) |
建ぺい率(%) |
60% |
水道 |
公営 |
|
地目 |
宅地 |
容積率(%) |
200 % |
下水 |
公共下水 |
|
都市計画 |
市街化区域 |
用途地域 |
準工業地域 |
電気 |
東京電力 |
|
道路 |
公道/東5.7m |
間口 |
東側11.5m |
態様 |
媒介 |
|
建物 |
426.56㎡(129坪) |
構造 |
鉄骨・木造3階建て |
現況 |
居住中 |

住宅部分(リフォーム要)

2F受付